1: ニライカナイφ ★ 2018/02/03(土) 20:22:55.28 ID:CAP_USER9
◆Amazonが「作業者の手の動きをトラッキングするリストバンド」の特許を取得
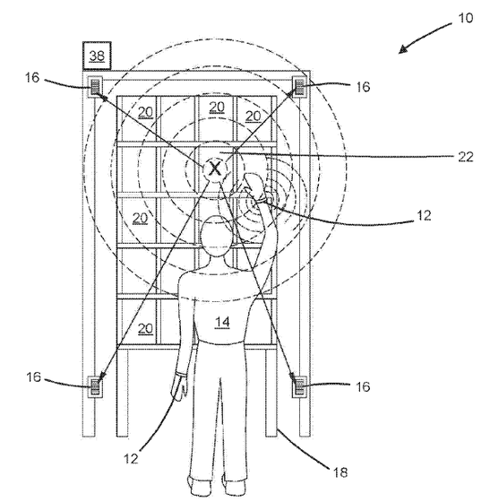
倉庫内で作業を行う作業者の腕にリストバンドを取り付け、商品が納められている棚に設置されたセンサーを使って作業者の手の動きを検知することが可能なシステムの特許をAmazonが取得したことが明らかになりました。
「Ultrasonic bracelet and receiver for detecting position in 2d plane」(2次元の面における位置を検知するための超音波ブレスレットと受信機)と題された特許は、Amazonが2016年3月に出願し、2017年9月に公開されていたもの。
書類の1枚目には、商品棚とその前に立つ作業者の様子がイラストで示されています。
イラストには、商品棚の四隅に超音波センサー(16)が取り付けられており、その前で作業を行う作業者の様子が描かれています。
作業者の両手首にはブレスレット(12)が装着されており、そこから超音波が発されます。
その信号を四隅の超音波センサー(16)でキャッチし、それぞれの時間差を計算して「三角測量」を行うことで、実際の作業者の手がどの位置にあるのかをトラッキングしようという装置です。
思わず「そこまでトラッキングして監視するのか……」と思ってしまいかねないこのシステムですが、Amazonではこのシステムの目的について「作業者の負担を減らすため」としています。
従来の倉庫システムでは、作業者は商品を棚に補充したり、逆に棚からピッキングして取りだした時にボタンを押したりバーコードをスキャンしたりといった作業を必要があるなど、作業に付帯する余分な手順を行う必要がありました。
この特許技術では、それらの作業を減らすことで負担を軽減することを狙っているようです。
Amazonの倉庫では高度な自動化が進んでいますが、末端の部分など人の手を介在させなければならない作業が残されています。
世界中で稼働しているAmazonの倉庫「フルフィルメントセンター」は総数で100を超えるともいわれており、このようなトラッキングシステムが導入されることで、「ちりも積もれば山となる」方式でムダの排除とコストの削減が実現される、ということを狙っているのかもしれません。
GIGAZINE 2018年02月02日 16時00分00秒
https://gigazine.net/news/20180202-amazon-patent-tracking-wireless-wristband/
4: 名無しさん@1周年 2018/02/03(土) 20:24:36.59 ID:LzJ/DTt60
>Amazonではこのシステムの目的について「作業者の負担を減らすため」としています
良かった、奴隷監視のためじゃないんだね
良かった、奴隷監視のためじゃないんだね
28: 名無しさん@1周年 2018/02/03(土) 20:34:50.70 ID:6BLRIkRG0
>>4
監視目的に決まってるだろ。
監視目的に決まってるだろ。
12: 名無しさん@1周年 2018/02/03(土) 20:26:33.13 ID:7t1kRLCr0
休まず手を動かせよ!!!
ぜーんぶ記録してるからな!!!
な、感じ?
ぜーんぶ記録してるからな!!!
な、感じ?
13: 名無しさん@1周年 2018/02/03(土) 20:26:39.43 ID:1dfBPyHb0
監視のための他に使い道を想像できなかった
22: 名無しさん@1周年 2018/02/03(土) 20:31:12.29 ID:e7EIPTHC0
スピード30%落ちてます
こいつは首だな
こいつは首だな
24: 名無しさん@1周年 2018/02/03(土) 20:32:17.83 ID:A3PnkuQs0
>>1
凄過ぎだろ
手の動きまで監視するのか
凄過ぎだろ
手の動きまで監視するのか
29: 名無しさん@1周年 2018/02/03(土) 20:35:27.56 ID:Q3eo3O5p0
作業の効率化のためだろうよ
徹底的に効率化するためには動線を知る必要がある
工場でもオフィスでも動線をトラッキングして配置変更したほうが良いに決まってる
徹底的に効率化するためには動線を知る必要がある
工場でもオフィスでも動線をトラッキングして配置変更したほうが良いに決まってる
40: 名無しさん@1周年 2018/02/03(土) 20:37:20.01 ID:xwDJgvP60
>このシステムの目的について「作業者の負担を減らすため」としています。
嘘つけ
嘘つけ
135: 名無しさん@1周年 2018/02/03(土) 21:07:02.00 ID:H/mzKP480
>>40
他人数の広い作業場では、どうしてもサボる奴が出てくるので
その分が他の作業者の業務に上乗せになってしまう
サボる奴はどんどん切って新しいスタッフ握り寿司替えていくことによって
作業者が本来必要でないはずの負担を減らすことができるのです
他人数の広い作業場では、どうしてもサボる奴が出てくるので
その分が他の作業者の業務に上乗せになってしまう
サボる奴はどんどん切って新しいスタッフ握り寿司替えていくことによって
作業者が本来必要でないはずの負担を減らすことができるのです
307: 名無しさん@1周年 2018/02/03(土) 23:31:56.90 ID:OjG7PE9M0
>>135
真面目な奴の負担軽減になるどころか
淘汰に次ぐ淘汰で「サボリ」の定義がどんどん厳しくなって
当初真面目とされた奴もついていけなくなりそうw
真面目な奴の負担軽減になるどころか
淘汰に次ぐ淘汰で「サボリ」の定義がどんどん厳しくなって
当初真面目とされた奴もついていけなくなりそうw
59: 名無しさん@1周年 2018/02/03(土) 20:43:30.76 ID:EvkYMs1O0
>>1
鼻くそほじったらバレるやん
鼻くそほじったらバレるやん
61: 名無しさん@1周年 2018/02/03(土) 20:43:52.03 ID:7jQLVJSZ0
自動で上下して高さを合わせる机とか
113: 名無しさん@1周年 2018/02/03(土) 20:58:35.23 ID:bwxC9Fk70
そのうち全て機械がやるようになるんだろ
儲かっている会社ほど自動化されて人が要らなくなっていく
儲かっている会社ほど自動化されて人が要らなくなっていく
167: 名無しさん@1周年 2018/02/03(土) 21:12:33.67 ID:rA5VkSs00
作業量が分かるから給与査定に使用できるな
170: 名無しさん@1周年 2018/02/03(土) 21:14:01.31 ID:C75FFse1O
ゆくゆくは自動化するための布石かな?
人の動きをいつかはCPUやロボットへデータ化していくんだろ?
人の動きをいつかはCPUやロボットへデータ化していくんだろ?
220: 名無しさん@1周年 2018/02/03(土) 21:31:13.04 ID:Qldais8v0
人間をどこまで機械化できるか実験
240: 名無しさん@1周年 2018/02/03(土) 21:44:22.10 ID:ExGPF+hr0
でもこれ測定データを持ってる倉庫と持ってない倉庫では雲泥の差がつくだろうな
252: 名無しさん@1周年 2018/02/03(土) 21:55:51.28 ID:CEzSz0II0
ただ監視したいだけだろ
盗難もすごいしなアマゾン倉庫
盗難もすごいしなアマゾン倉庫
270: 名無しさん@1周年 2018/02/03(土) 22:09:48.44 ID:b68caSCk0
野良猫にでもくくり付けてやれ
275: 名無しさん@1周年 2018/02/03(土) 22:17:56.61 ID:MX5igZDG0
無駄な動きが多い奴って居るからな
おめえ何回行ったり来たりしてんの?みたいな
おめえ何回行ったり来たりしてんの?みたいな
286: 名無しさん@1周年 2018/02/03(土) 22:46:06.82 ID:RDlRdC4X0
ハンディスキャナーで常に居場所と作業時間を監視しておきながらさらに今度は手の動きを監視するとかww
328: 名無しさん@1周年 2018/02/04(日) 00:07:54.30 ID:1EJBZyh60
今後の負担が減るなら良いんじゃね
元スレ:http://ai.2ch.sc/test/read.cgi/newsplus/1517656975/
|
|
おすすめサイトの最新記事






むしろそれ使って、頑張っただけ稼げる歩合制にしろよ。
そうすりゃさぼってるやつには、金払わなくてすむしw
だからどうあがいても監視目的にしか役に立たんだろうねこの技術
ディストピアだな
サボっている奴を見つける事も簡単に出来るが、それを見て注意するかしないかは、会社次第。
多くの所でハンディーが使われているけど、あれ全部監視出来るように設計されている、そりゃ〜そうだよね。
現代社会に嫌気が差して自然に回帰する人達が増えてるのも当然だな
こんな監視システムの下で働きたいなんて思うバカがいるんか?